一、路面狀況傳感器產品介紹
路面狀況傳感器又稱路面狀況檢測器,非接觸式路面狀態傳感器,路面狀況傳感器是一款專門為交通道路地面監測而設計的傳感器,采用遙感技術,無需對道路進行破壞性安裝,不會對交通造成干擾能準確檢測出道路表面結冰、積雪和積水等。
路面狀況傳感器又稱路面狀況檢測器,路面傳感器,路面狀況傳感器是一款非接觸式路面狀態檢測器,采用遙感技術,避免了對道路的破壞,采用多光譜測量技術使得能準確檢測道出道路表面結冰、積雪和積水的厚度。
路面狀況傳感器又稱路面狀況檢測器,路面狀況傳感器采用遙感技術,多光譜測量技術使得能準確檢測道出道路表面結冰、積雪和積水的存在狀態和厚度,同時還能實時監測影響交通安全的大霧、雨和雪等天氣現象。
WX-LM1系列非接觸式路面狀態檢測器,它采用遙感技術,避免了對道路的破壞,從而不會因為安裝道路氣象站引起的對交通的干擾。多光譜測量技術使得能準確檢測道出道路表面結冰、積雪和積水的存在狀態和厚度,同時還能實時監測影響交通安全的大霧、雨和雪等天氣現象。
二、路面狀況傳感器功能
l檢測路面積水、積雪、結冰狀態
l遠距離遙感檢測路面、橋面狀況
l非埋入式安裝快捷簡便
l車流量和事故多發區域
l雨雪多發區域
l維護成本低
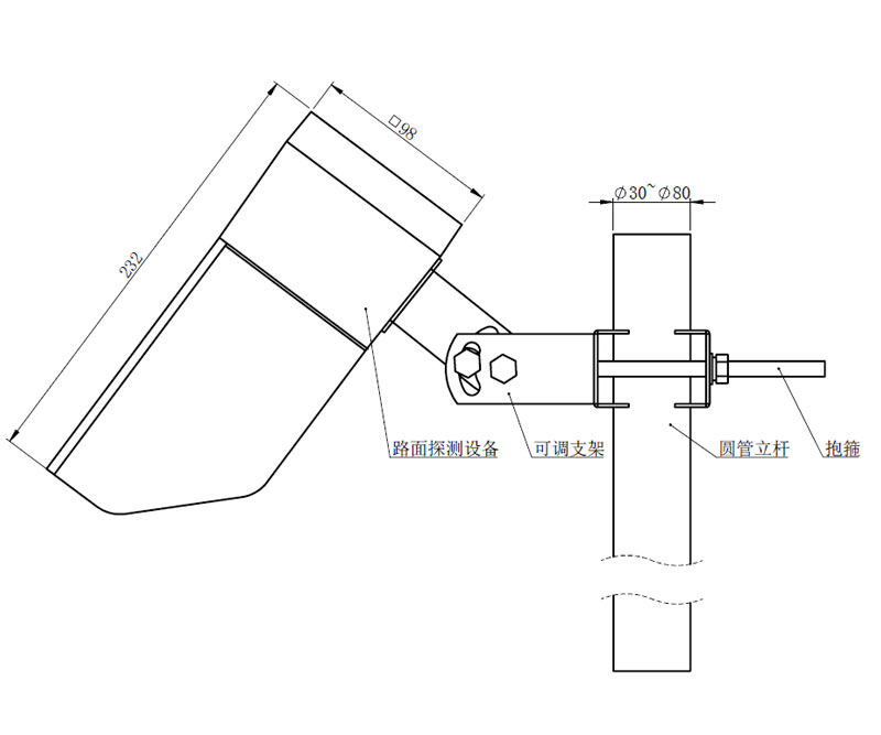
三、路面狀況傳感器產品尺寸圖

四、主要指標
型號 | WX-LM3(停售) | WX-LM1 |
檢測距離及檢測區域直徑 | 2-8米;23cm | |
對水平線的安裝角 | 30-80 | |
電源及功耗 | DC12-24V;0.6W | |
工作溫度和濕 | 溫度:-40oC 至 +60oC;濕度:0 至 95% | |
積水厚 | - | 0-10mm |
覆冰厚 | - | 0-2mm |
積雪厚 | - | 0-2mm |
濕滑程 | - | 0.01(濕滑)-0.82(摩擦強) |
路面狀態報告 | 干燥、潮、 濕、 雪、 冰、 冰水混合 | |
公路天氣現象(選配) | 路面溫度:oC 至 +60oC | |
天氣現象:雨;雪;大霧 | ||
路面材料 | 混凝土、瀝青路面 | |
通訊 | RS485、RS232 | |


魯公網安備37079402370804